
Phát triển hệ thống đo trở kháng cầm tay dựa trên IC tương tự AD5941 để phát hiện tế bào ung thư phổi A549
“Nghiên cứu, thiết kế và chế tạo hệ thống đo trở kháng cầm tay dựa trên IC tương tự AD5941 để phát hiện tế bào ung thư phổi A549” là một đề tài liên ngành do nhóm sinh viên khoa Điện tử viễn thông cùng khoa Cơ học kỹ thuật và tự động hóa triển khai. Sinh viên Đỗ Thị Loan, Phan Trung Kiên và Trương Quang Minh đã giành giải Nhất sinh viên nghiên cứu khoa học cấp Trường và là một trong những đề tài tham dự giải thưởng sinh viên nghiên cứu khoa học cấp Bộ.
PGS.TS. Bùi Thanh Tùng – Phó Chủ nhiệm khoa Điện tử viễn thông (ngoài cùng, bên phải ảnh) trao giải nhất tại hội nghị sinh viên nghiên cứu khoa học cấp Trường cho nhóm sinh viên triển khai đề tài “Nghiên cứu, thiết kế và chế tạo hệ thống đo trở kháng cầm tay dựa trên IC tương tự AD5941 để phát hiện tế bào ung thư phổi A549” gồm sinh viên Đỗ Thị Loan, Phan Trung Kiên và Trương Quang Minh
Hợp tác cùng nghiên cứu sản phẩm liên ngành
Xuất phát từ nhu cầu thực tiễn khi căn bệnh ung thư đang trở nên nguy hiểm và mỗi năm cướp đi sinh mạng của hàng triệu người trên thế giới. Trong đó, ung thư phổi là một trong những loại ung thư phổ biến và tỷ lệ tử vong cao. Vì vậy, phát hiện sớm ung thư nói chung và ung thư phổi nói riêng giúp cải thiện đáng kể tỷ lệ sống sót của bệnh nhân. Nhận thấy tầm quan trọng của công tác tầm soát ung thư sớm và kế thừa những kết quả nghiên cứu từ các anh chị khóa trên, nhóm nghiên cứu liên ngành gồm các thành viên của khóa QH-2021-I/CQ đến từ khoa Cơ học kỹ thuật và tự động hóa là sinh viên Đỗ Thị Loan, Phan Trung Kiên cùng sinh viên Trương Quang Minh đến từ khoa Điện tử viễn thông cùng đề xuất xây dựng một hệ thống nhỏ gọn, chi phí thấp, dễ sử dụng để phát hiện tế bào A549 và chẩn đoán sớm ung thư phổi. Sau khi các thành viên trong nhóm xác định được hướng đi chung đã cùng “bắt tay” vào thực hiện đề tài từ tháng 3/2023.

Đại diện nhóm nghiên cứu, sinh viên Trương Quang Minh cho biết: “Sự kết hợp nhóm nghiên cứu liên ngành thúc đẩy sự sáng tạo và mở ra cơ hội học hỏi lẫn nhau, tạo nên môi trường làm việc hiệu quả và sáng tạo hơn. Dựa trên thế mạnh của các thành viên đến từ mỗi khoa, chúng em phân công nhiệm vụ theo lĩnh vực. Hai bạn Đỗ Thị Loan và Phan Trung Kiên phụ trách phần kiến thức và các công việc về cơ khí, thiết kế hệ thống và tự động hóa, còn em xử lý các lĩnh vực liên quan đến mạch điện, vi xử lý và xử lý tín hiệu. Sự kết hợp này giúp nhóm nghiên cứu có đủ kỹ năng và kiến thức cần thiết để giải quyết các vấn đề kỹ thuật phức tạp một cách toàn diện hơn và nâng cao chất lượng của sản phẩm cuối cùng”.
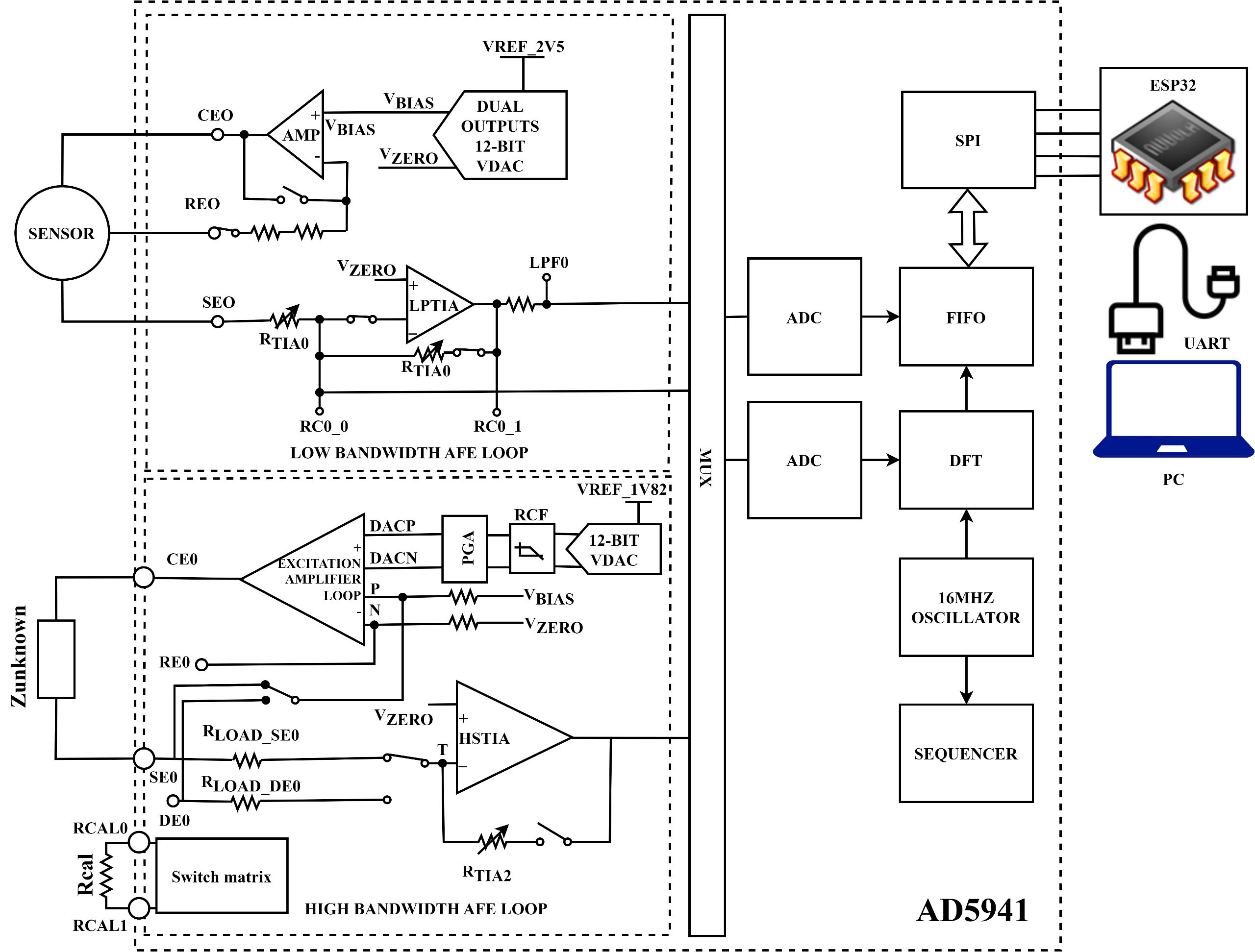
Với sự nỗ lực của các thành viên trong nhóm mong muốn từ đề tài “trên giấy” phát triển thành “hình hài” một hệ thống đo trở kháng cầm tay, nhỏ gọn có khả năng phát hiện sự hiện diện của tế bào ung thư phổi A549, giúp các bác sĩ phát hiện bệnh ở giai đoạn sớm, từ đó đưa ra các biện pháp điều trị kịp thời và hiệu quả. Đến nay, nhóm nghiên cứu đã phát triển thành công sản phẩm nguyên mẫu của hệ thống đo trở kháng cầm tay dựa trên IC tương tự AD5941 để phát hiện tế bào ung thư phổi A549. Sản phẩm này đã trải qua các thử nghiệm ban đầu và đã chứng minh hiệu quả của sản phẩm trong phát hiện tế bào ung thư phổi A549. Để phát hiện tế bào ung thư phổi, hệ thống được kết nối với một chip vi lưu được chế tạo bằng công nghệ MEMS trên nền ITO và tích hợp điện cực với cấu trúc hình răng lược. Tế bào A549 được bắt giữ trong kênh vi lưu, giữa 2 điện cực nhờ lực điện di (DEP) và aptamer đặc hiệu. Trở kháng giữa 2 điện cực được đo để nhận diện và định lượng nồng độ của tế bào ung thư phổi A549 được bắt giữ trong kênh. Kết quả được truyền và hiển thị trên màn hình máy tính. Người dùng có thể dễ dàng điều khiển và quan sát kết quả thông qua giao diện phần mềm trên máy tính được thiết kế bằng ngôn ngữ C#. Thiết bị đo có dạng hình hộp chữ nhật nhỏ gọn với kích thước 11 x 7.6 x 4 cm và được chế tạo bằng kỹ thuật mạch in đa lớp PCB và in 3D.
Đề tài “trên giấy” phát triển thành “hình hài” một hệ thống đo trở kháng cầm tay, nhỏ gọn có khả năng phát hiện sự hiện diện của tế bào ung thư phổi A549
So với các sản phẩm đang sử dụng trên thị trường, sản phẩm nguyên mẫu có nhiều điểm nổi bật về kích thước, giá thành và công nghệ. Chia sẻ về những điểm mạnh của sản phẩm, sinh viên Đỗ Thị Loan cho biết: “Sản phẩm có kích thước nhỏ gọn, dễ dàng vận chuyển tạo tiền đề để phát triển các hệ thống chăm sóc sức khỏe tại chỗ. Chi phí sản xuất thấp, nên giá thành sản phẩm rẻ hơn so với các thiết bị đo trở kháng và phát hiện tế bào ung thư phổi trên thị trường. Điều này đặc biệt quan trọng ở Việt Nam và các nước đang phát triển, nơi chi phí y tế là một yếu tố lớn. Về công nghệ, hệ thống đã được phát triển dựa trên công nghệ mạch in đa lớp PCB và công nghệ in 3D để tạo ra một nguyên mẫu nhanh. IC tương tự AD5941 cho phép đo trở kháng có độ chính xác cao, ổn định và công suất tiêu thụ thấp. Ngoài ra, tính di động và dễ sử dụng của thiết bị cầm tay là một điểm cộng lớn, giúp nâng cao khả năng tiếp cận của công nghệ này tới các cơ sở y tế nhỏ hoặc vùng nông thôn, nơi các thiết bị chẩn đoán lớn và phức tạp khó có thể sử dụng. Các kết quả của hệ thống chính xác và tin cậy. Điều này đã được khẳng định trong kết quả đánh giá khi so sánh với thiết bị thương mại trên thị trường”.

Sinh viên Đỗ Thị Loan trình bày kết quả nghiên cứu trước hội đồng BGK
Sinh viên Trương Quang Minh chia sẻ: “Có lẽ điều nhóm nghiên cứu cảm thấy thành công nhất là sản phẩm mang lại lợi ích cộng đồng. Bởi vì, với ưu điểm kích thước nhỏ gọn, chi phí thấp và dễ sử dụng, sản phẩm sau khi hoàn thiện có thể được sử dụng tại các phòng khám nhỏ, các cơ sở y tế địa phương, và thậm chí là trong các chương trình khám bệnh từ thiện. Điều này giúp người dân có thể tiếp cận công nghệ y tế tiên tiến, đặc biệt là ở các vùng xa xôi hoặc thiếu thốn cơ sở vật chất y tế”.
Đồng hành cùng sinh viên thúc đẩy phát triển
Hơn một năm qua, các thành viên trong nhóm nghiên cứu với sự động viên, khuyến khích từ các thầy hướng dẫn là PGS.TS. Bùi Thanh Tùng và ThS Trần Như Chí đã “chắp cánh” cho những đam mê nghiên cứu của đề tài. Bên cạnh sự ủng hộ của các thầy cô cùng môi trường khuyến khích sinh viên nghiên cứu khoa học đã thúc đẩy sự tiến bộ mỗi ngày của các thành viên. Tuy nhiên, “Nghiên cứu, thiết kế và chế tạo hệ thống đo trở kháng cầm tay dựa trên IC tương tự AD5941 để phát hiện tế bào ung thư phổi A549” là một đề tài liên ngành trong nhiều lĩnh vực như công nghệ, điện tử…, đặc biệt là y sinh nên các thành viên trong nhóm gặp không ít khó khăn trong việc đọc và tìm hiểu các kiến thức mới. Ngoài ra, các thành viên trong nhóm chưa có nhiều kinh nghiệm trong việc thực hiện phát triển một sản phẩm thực và thực hiện các thí nghiệm trên đối tượng sinh học yêu cầu kinh nghiệm, sự cẩn thận và độ tỉ mỉ cao. Vì vậy, ngay từ lúc bắt đầu nhóm nghiên cứu gặp nhiều khó khăn khi xây dựng phần cứng, phần mềm cho hệ thống và thử nghiệm hệ thống với mẫu sinh học. Phan Trung Kiên cho biết: “Mặc dù mỗi thành viên đều bận rộn với lịch học, nhưng chung quan điểm về những lợi ích khi tham gia hoạt động nghiên cứu, nên nhóm tiếp tục cùng nhau nỗ lực “chinh phục” hành trình này. Ngoài những giờ học trên lớp hoặc sau khi hoàn thành các bài tập, nhóm thường dành thời gian một vài buổi trong tuần để lên phòng thí nghiệm tham gia nghiên cứu và học tập. Để đảm bảo tiến độ nghiên cứu, hàng tuần nhóm sẽ họp để báo cáo kết quả, chia sẻ tiến độ, thảo luận giải quyết những vấn đề phát sinh. Trong quá trình đó, các thành viên không thể thiếu được sự hỗ trợ, tư vấn và trao đổi về kết quả, khó khăn trong nghiên cứu từ phía các thầy hướng dẫn. Chính sự hướng dẫn, hỗ trợ tâm huyết, đồng hành từ các giảng viên trong mỗi giai đoạn triển khai giúp nhóm nghiên cứu vượt qua những khó khăn, truyền cảm hứng và động lực để các thành viên nhận ra giá trị, tiềm năng của bản thân trong nghiên cứu khoa học. Vì vậy, là một sinh viên UET các bạn không nên bỏ qua hoạt động nghiên cứu khoa học cùng thầy cô và bạn bè. Hoạt động này thực sự giúp ích rất nhiều trong học tập và định hướng nghề nghiệp mà các bạn muốn theo đuổi trong tương lai”.
Trong thời gian tới, nhóm nghiên cứu sẽ tiếp tục cải tiến và tối ưu sản phẩm hơn nữa. Cụ thể là, tối ưu hóa thiết kế phần cứng để làm cho thiết bị nhỏ gọn hơn, ngoại hình đẹp hơn, tiêu thụ ít điện năng hơn và đảm bảo độ bền cao hơn. Phát triển tính năng kết nối không dây của hệ thống, giúp hệ thống có thể kết nối không dây với điện thoại thay vì máy tính. Ngoài ra, nhóm cũng sẽ nghiên cứu và phát triển để thiết bị có thể phát hiện thêm các loại tế bào ung thư khác như ung thư vú, ung thư gan, ung thư dạ dày, v.v.
Chia sẻ của PGS.TS Bùi Thanh Tùng – Phó Chủ nhiệm khoa Điện tử viễn thông, giảng viên hướng dẫn nhóm nghiên cứu về đề tài liên ngành và thế mạnh của từng sinh viên khi triển khai đề tài này: “Hệ thống là một sản phẩm mang tính liên ngành, được phát triển dựa trên các lĩnh vực chuyên môn khác nhau. Sản phẩm liên ngành có nhiều ý nghĩa quan trọng, tận dụng kiến thức và kỹ năng từ nhiều lĩnh vực khác nhau nhằm tạo ra sự đa dạng và phong phú trong quá trình nghiên cứu, phát triển. Ngoài ra, sự kết hợp của các lĩnh vực khác nhau có thể dẫn đến những ý tưởng sáng tạo và đổi mới. Với việc tiếp cận góc độ khác nhau và tăng khả năng giải quyết vấn đề nên sản phẩm liên ngành thường có phạm vi ứng dụng rộng, phục vụ nhiều mục đích và đối tượng khác nhau.
Các thành viên trong nhóm nghiên cứu đều là những sinh viên có kiến thức tốt, chăm chỉ, sáng tạo và thái độ trách nhiệm cao với công việc. Mỗi sinh viên đều có thế mạnh để phát huy và hoàn thành tốt nhiệm vụ nghiên cứu. Trong đó, sinh viên Đỗ Thị Loan (khoa Cơ học kỹ thuật và tự động hóa) có kiến thức, tư duy tốt về xây dựng hệ thống, có khả năng lập trình và xây dựng thuật toán chương trình cho phần cứng. Ngoài ra, Đỗ Thị Loan cũng là sinh viên có kỹ năng quản lý tốt phù hợp với nhiệm vụ trưởng nhóm. Sinh viên Phan Trung Kiên (khoa Cơ học kỹ thuật và tự động hóa) có thế mạnh về thiết kế cơ khí và chế tạo vỏ thiết bị nên được giao thực hiện thiết kế kiểu dáng và chế tạo thiết bị sử dụng công nghệ in 3D. Với tính cách tỉ mỉ và cẩn thận, Trung Kiên đã hoàn thành rất tốt công việc của mình. Cuối cùng, Trương Quang Minh là một sinh viên khoa Điện tử viễn thông, có thế mạnh về thiết kế mạch điện tử và xử lý tín hiệu. Trong nhóm, Quang Minh đã phụ trách thiết kế mạch nguyên lý, mạch in, hàn linh kiện và hoàn thiện các mạch điện tử cho hệ thống. Ngoài ra, Quang Minh cũng phụ trách phần kết nối truyền thông và xử lý tín hiệu của hệ thống. Mặc dù mỗi sinh viên được phân công những nhiệm vụ khác nhau, nhưng các bạn rất có tinh thần tập thể, hỗ trợ nhau trong công việc để đẩy nhanh tiến độ của nghiên cứu. Đặc biệt là khi có bất cứ thành viên nào trong nhóm gặp vấn đề khó giải quyết, các bạn sẽ ngồi lại với nhau để trao đổi và cùng nhau đưa ra giải pháp để tháo gỡ những khó khăn gặp phải. Dù ở hai khoa khác nhau nhưng các thành viên trong nhóm rất thân thiết, sắp xếp thời gian để thường xuyên trao đổi và luôn coi đây là cơ hội để giao lưu, chia sẻ kiến thức và hỗ trợ lẫn nhau trong học tập, nghiên cứu”.
(UET-News)


