Sau 05 năm nghiên cứu,“Kỹ thuật mã hóa và giải mã video phân tán DVC” thực hiện bởi nhóm nghiên cứu của Khoa Điện tử- Viễn thông do TS. Đinh Triều Dương làm Trưởng nhóm, đã được Cục Sở Hữu trí tuệ cấp bằng sáng chế độc quyền vào năm 2019. Phóng viên website Trường ĐHCN đã có buổi phỏng vấn TS. Đinh Triều Dương để tìm hiểu những điểm mới của sáng chế.
TS. Đinh Triều Dương và nhóm nghiên cứu đã thành công khi “Kỹ thuật mã hóa và giải mã video phân tán DVC”, được Cục Sở Hữu trí tuệ cấp bằng sáng chế độc quyền vào năm 2019
1. Thưa Tiến sỹ, sáng chế “Phương pháp mã hóa và giải mã video phân tán DVC” có những điểm mạnh như thế nào so với các phương pháp truyền thống hiện đang sử dụngvà đâu là điểm mới của phương pháp đề xuất?
So với kỹ thuật mã hóa video truyền thống, kỹ thuật mã hóa video phân tán (viết tắt là DVC) có một số điểm mạnh như: độ phức tạp thuật toán nhỏ, có thể triển khai trên các thiết bị mã hóa là các cảm biến sensor có cấu hình thấp, giá thành rẻ tại đầu phát (Encoder), trong khi vẫn đảm bảo được hiệu năng mã hóa và chất lượng hình ảnh tốt tại đầu thu (Decoder) v.v. Các thế mạnh này cũng là các yêu cầu rất quan trọng đối với một số hệ thống mạng đang triển khai và thịnh hành hiện nay như: mạng IoT, mạng cảm biến không dây (WVSN), hay hệ thống mạng camera giám sát (CSS) v.v Với các hệ thống mạng này thì các kỹ thuật mã hóa video truyền thốngtheo các chuẩn nén hiện có như H.264/AVC, H.265/HEVC, hay tương lai là H.266/FVC sẽ gặp nhiều hạn chế khi triển khai, đặc biệt là yêu cầu bộ mã hóa Encoder (thông thường là các Server) có cấu hình thấp hay giá thành rẻ là khó khả thi.
Xuất phát từ nhu cầu thực tiễn tại Việt Nam và sự phát triển về kỹ thuật mã hóa video phân tán (DVC) trên thế giới, nhóm nghiên cứu đã phát triển mô hình mã hóa ứng dụng cho mạng thế hệ mới nêu trên (IoT, WVSN, CSS…).
Từ những năm 2000, kỹ thuật mã hóa video phân tán DVC đã phát triển mạnh mẽ trên thế giới như Hàn Quốc, Đài Loan, Nhật, châu Âu… nhưng ở Việt Nam, các nghiên cứu về mã hóa video nói chung và mã hóa DVC nới riêng chưa nhiều gặp nhiều hạn chế. Với sự nỗ lực của các thành viên trong nhóm kết hợp với sự hỗ trợ của Nhà trường và ĐGQGHN thông qua đề tài QG, nhóm đã có được một số kết quả ban đầu cho kỹ thuật mã hóa khá mới mẻ này.
So với các bộ mã hóa video phân tán truyền thống hiện có trên thế giới, bộ mã hóa đề xuất đã đạt được một số kết quả mới bước đầu với hiệu xuất mã hóa thu được là cao hơn, chất lượng hình ảnh tốt hơn và đặc biệt hình ảnh hiển thị tại đầu thu có chất lượng ổn định hơn.
2. Trong quá trình thực hiện quy trình cấp bằng độc quyền sáng chế nhóm nghiên cứu có những khó khăn và thuận lợi như thế nào?
Trong thời gian nghiên cứu nhóm có những thuận lợi về kinh nghiệm nghiên cứu trong lĩnh vực và đội ngũ cán bộ nghiên cứu khoa học. Về vấn đề nghiên cứu “Mã hóa và xử lý ảnh, xử lý video phân tán DVC”, tham gia nhóm nghiên cứu cùng tác giả của bằng sáng chế còn có TS. Hoàng Văn Xiêm – Giảng viên khoa ĐTVT. Ngoài ra, có một số các Thầy/Cô ở các Khoa, trường khác cùng tham gia cộng tác, các NCS và học viên cao học. Các Thầy/Cô trong nhóm nghiên cứu là các cán bộ đã được đào tạo chuyên sâu về lĩnh vực xử lý ảnh, xử lý video, có nhiều công trình công bố liên quan đến mã hóa ảnh/video nói chung và mã hóa video phân tán nói riêng. Các thành viên trong nhóm nghiên cứu đã tham gia các phòng thí nghiệm nghiên cứu chuyên sâu và uy tín trên thế giới về mã hóa ảnh/video. Riêng với kỹ thuật mã hóa video phân tán DVC một số thành viên của nhóm đã tham gia nghiên cứu tại các phòng thí nghiệm của Đại học Korea, Hàn Quốc và ĐH Lisbon (Bồ Đào Nha) từ năm 2012. Trong quá trình học và làm nghiên cứu sinh tại các Lab ở nước ngoài, các thành viên của nhóm cũng đã tham gia viết bằng độc quyền sáng chế và giải pháp hữu ích nên cũng có phần nào kinh nghiệm. Trong quá trình đề xuất và đăng ký cấp bằng độc quyền sáng chế, tác giả và nhóm nghiên cứu đã nhận được nhiều hỗ trợ, tư vấn nhiệt tình từ các phòng chức năng của Nhà trường, từ nguồn kinh phí đề tài cấp ĐHQGHN (QG), tạo động lực tốt cho nhóm nghiên cứu
Tuy nhiên, như những nhóm nghiên cứu khác nhóm cũng đã gặp những khó khăn trong lĩnh vực xử lý và truyền thông ảnh/video. Bởi vì đây là lĩnh vực nghiên cứu tương đối khó, đòi hỏi nhiều kiến thức liên quan đến các giải thuật tối ưu, các chuẩn mã hóa ảnh/video phức tạp, các yêu cầu về xử lí thời gian thực (Real time processing) v.v. Các chuẩn nén ảnh/video hiện đại thường xuyên có sự cập nhật, nâng cấp trong khi cộng đồng nghiên cứu về lĩnh vực xử lý và truyền thông các chuẩn nén ảnh/video ở Việt Nam còn khá mỏng. Do vậy, lực lượng tham gia triển khai, thu được kết quả mới từ các nghiên cứu về xử lý ảnh/video phân tán gặp một số khó khăn khi triển khai ở Việt Nam. Kỹ thuật mã hóa video phân tán DVC là kỹ thuật mới dựa trên cách tiếp cận hoàn toàn mới so với các cách tiếp cận truyền thống hiện có nên các công cụ hỗ trợ cho kỹ thuật này rất hạn chế. Bởi vậy, trong quá trình nghiên cứu và triển khai, các thành viên của nhóm nghiên cứu đã phải nỗ lực, mất nhiều thời gian và công sức để kế thừa một số công cụ đã có và tự phát triển thêm các công cụ và kỹ thuật mới khác. Nhóm nghiên cứu mặc dù có kinh nghiệm trong việc công bố các kết quả nghiên cứu trên các tạp chí uy tín trong nước và quốc tế nhưng chưa có được kinh nghiệm sâu trong việc viết hay đăng ký kết quả nghiên cứu mới để có thể đưa ra đề xuất và nhận được bằng Độc quyền sáng chế hay giải pháp hữu ích. Kiến thức và các hiểu biết chuyên sâu về các qui định liên quan đến Độc quyền sáng chế hay giải pháp hữu ích tại Việt Nam của nhóm chưa có nhiều. Việc tìm ra được các chuyên gia tư vấn, luật sư sáng chế giàu kinh nghiệm và có uy tín về lĩnh vực nghiên cứu này bước đầu cũng gặp phải một số khó khăn.
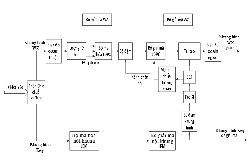
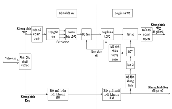
Phương pháp mã hóa và giải mã video phân tán DVC
3. Nhóm nghiên cứu đã nộp hồ sơ để được cấp bằng độc quyền sáng chế từ năm nào? Lợi ích của việc công nghệ này được cấp bằng độc quyền sáng chế?
Từ các kết quả nghiên cứu đạt được, nhóm nghiên cứu bắt đầu nộp hồ sơ xin cấp bằng độc quyền sáng chế về “Kỹ thuật mã hóa và giải mã video phân tán DVC” từ năm 2017. Năm 2019, sau các nỗ lực của nhóm, nhóm nghiên cứu đã nhận được bằng sáng chế này.
Việc nhận được bằng sáng chế tạo động lực nghiên cứu và sáng tạo cho các nhóm nghiên cứu nói chung,nhất là cho các nhóm nghiên cứu mạnh. Ngoài ra, góp phần tăng chỉ số đổi mới sáng tạo quốc gia, chỉ số về số lượng các bằng độc quyền sáng chế hay giải pháp hữu ích. Đây là một trong số các chỉ số đánh giá về sản phẩm khoa học công nghệ hiện được ĐHQGHN và các trường đại học trên thế giới quan tâm. Bên cạnh đó, bằng độc quyền sáng chế được bảo hộ trong 20 năm giúp nhóm nghiên cứu bảo hộ được “chất xám” nghiên cứu hoặc một số sáng chế khác có liên quan.
4. Thời gian tới, nhóm nghiên cứu có những định hướng phát triển sáng chế như thế nào?
Một số các module của kỹ thuật mã hóa và giải mã video phân tán DVC hiện đã được các nhóm nghiên cứu của GS. Fernando Pereira (ĐH Lisbon, Bồ Đào Nha) và nhóm nghiên cứu của GS. Byungwoo Jeon (ĐH Sungkyunkwan, Hàn Quốc) triển khai thử nghiệm thành công trên nền tảng phần cứng gồm các hệ thống phần cứng thực hiện xử lý và truyền thông mã hóa video phân tán: Khối mã hóa (DVC Encoder) và giải mã (DVC Decoder). Bên cạnh đó, một số công ty cũng rất quan tâm tới công nghệ này như công ty Vocal Technologies.
Tại Việt Nam, nhóm nghiên cứu đã xây dựng và thử nghiệm trên hệ thống máy tính và một số nền tảng phần cứng cấu hình thấp, và hướng phát triển tương lai sẽ triển khai thí nghiệm bộ mã hóa video DVC trên hệ thống cảm biến không dây.
Trong thời gian tới, nhóm tiếp tục triển khai nghiên cứu sâu và phát triển để có thêm các kết quả mới cho hệ thống mã hóa video phân tán này.
Trân trọng cảm ơn Tiến sỹ!
Tuyết Nga (UET-News)


